
Arthur Kovalovsky - Hollywood, CA
Arthur Kovalovsky reels were first made using his knowledge and experience he gained as a car mechanic in Hollywood, CA in the 1910's. His mechanical background and knowledge allowed him to start making reels and rods in 1928. Reel production became full time in the 1930's. His first reel type was called his Standard Model. It was made up until 1941 when World War II stopped its production. In 1945 he resumed making reels with his son Oscar and did so up until his death in 1958 at the age of 77. Arthur is consider to be one of the great early reel makers.
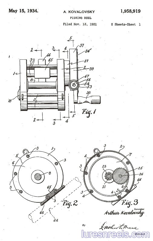
The Standard Model Type I reel incorporated his May 15, 1934 patent for a drag mechanism. The drag resembles a car break shoe design and is housed inside the crank handle. Standard Model Type I reels are similar to that shown in his first patent. Arthur also created a design that incorporated a drag wheel underneath the crank handle that functioned similar to a star drag. This model is referred to as the Type C design. The Zane Grey Model had a rim control to allow the fisherman to easily put the reel in free spool. This model had the first five patent dates stamped on it. The last model Kovalovsky patented and produced was the Type II Standard Model. It was introduced in 1945 and sold until 1958. It incorporates the features for the patent received on Aug. 26, 1952.
Arthur and Oscar Kovalovsky received 7 patents associated with reel design. Below is a summary of the patent dates, patent numbers, inventor's names and major patent features.
All Kovalovsky reels and rods are collectable.

The KOVALOVSKY Reels

The 16/0 KOVALOVSKY Standard Model Type I Reel Made 1932 to 1941

The 16/0 KOVALOVSKY Standard Model Type I Micarta Reel Made 1932 to 1941

The 14/0 KOVALOVSKY Unmarked Standard Model Type I Reel

The 9/0 KOVALOVSKY Standard Model 226 Type C Reel Made 1938 to 1941

The 14/0 KOVALOVSKY Standard Model 39 Type II Reel Made 1945 to 1958

The KOVALOVSKY 16/0 ZANE GREY Model Reel with Rim Control

The KOVALOVSKY 9/0 Model 45 and 14/0 Model 39 Reels

The KOVALOVSKY 9/0 Standard Model 45 Type I Reel

The 9/0 KOVALOVSKY Standard Model 24 Type II Micarta Reel Made 1945 to 1958

The 14/0 KOVALOVSKY Standard Model 39 Type II Reel

The 9/0 KOVALOVSKY Standard Model Type II Reel

The 6/0 KOVALOVSKY Standard Model Type II Reel

The 16/0 KOVALOVSKY Standard Model 24 Type I Reel

The 9/0 KOVALOVSKY Standard Model 226 Type I Reel

The 9/0 KOVALOVSKY Standard Model 509 Type I Reel

The KOVALOVSKY Surf Rod

The KOVALOVSKY May 15, 1934 Patent